|
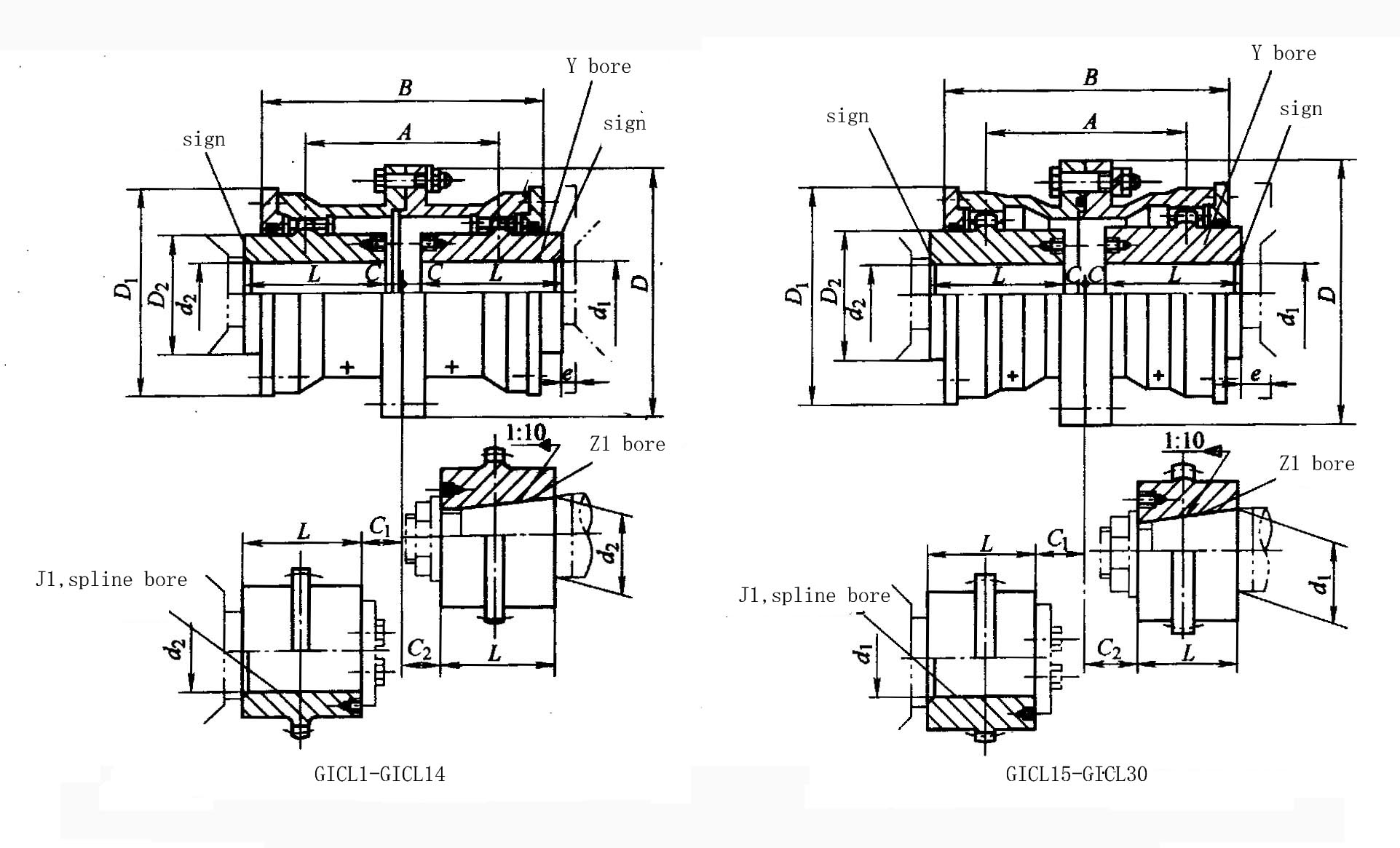
Features and applications: With a small amount of axis offset compensation performance, can not buffer, reduce vibration. The outer shape is small, the theoretical transmission torque is large, and lubrication and sealing are required. When the precision is low, the noise is large, the processability is poor, and the price is expensive. When the elastic coupling can be replaced, the gear coupling should be avoided as much as possible for connecting the horizontal two coaxial shaft drive. It is used to connect two horizontal coaxial lines under low speed and heavy load conditions, such as metallurgical machinery and heavy machinery. When the accuracy is low, it is not suitable for high-speed, high-precision shafting transmission. It is not suitable to use frequent starting and reverse rotation. GICL type - basic type (wide type); GIICL type - basic type (narrow type); GICLZ type - intermediate shaft type (wide type); GIICLZ type - intermediate shaft type (narrow type); GICL, GIICL type, for direct connection between two shaft ends; GICLZ, GILZ type, for two-axis long-distance connection; GCLD type--motor shaft extension type, used for motor shaft extension connection; ![]() ![]() ![]() ![]() |





