XL(LX)型彈性星型聯軸器 特點及應用場合:具有補償兩軸相對偏移、減振、緩沖性能、徑向尺寸小,結構簡單、不用潤滑、承載能力較高,維護方使、更換彈性元件需軸向移動,適用于聯接同軸線,起動頻繁,正反轉變化,中速、中等轉矩傳動軸系和要求工作可靠性高的工作部位。不適用于重載、低速及軸向尺寸受艱制,更換彈性元件后兩軸對中困難的部位。 XL型--基本型;XLD型--擴大軸孔型;![]()
XL(LX)型彈性星型聯軸器的基本尺寸和參數(JB/T 10466-2004) mm
![]() |

XL(LX)型彈性星型聯軸器 特點及應用場合:具有補償兩軸相對偏移、減振、緩沖性能、徑向尺寸小,結構簡單、不用潤滑、承載能力較高,維護方使、更換彈性元件需軸向移動,適用于聯接同軸線,起動頻繁,正反轉變化,中速、中等轉矩傳動軸系和要求工作可靠性高的工作部位。不適用于重載、低速及軸向尺寸受艱制,更換彈性元件后兩軸對中困難的部位。 XL型--基本型;XLD型--擴大軸孔型;![]()
XL(LX)型彈性星型聯軸器的基本尺寸和參數(JB/T 10466-2004) mm
![]() |
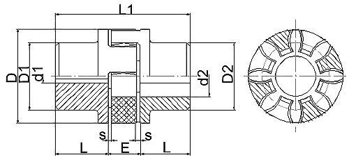
XL(LX)型彈性星型聯軸器 特點及應用場合:具有補償兩軸相對偏移、減振、緩沖性能、徑向尺寸小,結構簡單、不用潤滑、承載能力較高,維護方使、更換彈性元件需軸向移動,適用于聯接同軸線,起動頻繁,正反轉變化,中速、中等轉矩傳動軸系和要求工作可靠性高的工作部位。不適用于重載、低速及軸向尺寸受艱制,更換彈性元件后兩軸對中困難的部位。 XL型--基本型;XLD型--擴大軸孔型;![]()
XL(LX)型彈性星型聯軸器的基本尺寸和參數(JB/T 10466-2004) mm
![]() |
鎮江海誠機械制造有限公司
? 海誠集團 版權所有 All rights reserved.
地址:江蘇省鎮江市高新技術開發園區68號 ??服務熱線:18913433240
公司電話:0511-85783292 ??公司傳真:0511-85019680(自動接收)
Copyright ? 鎮江海誠機械制造有限公司 版權所有 蘇ICP備14043855號-6